Profilové dopravníkové pásy
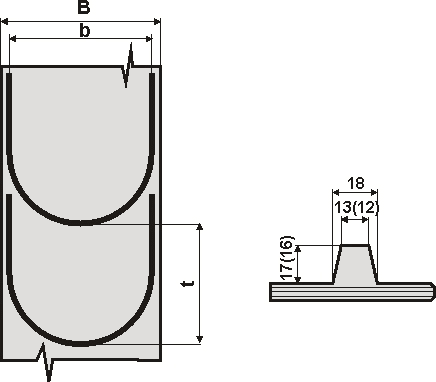
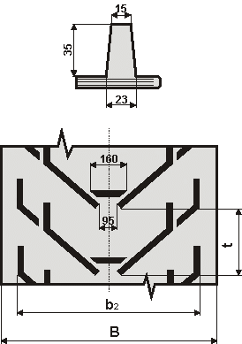
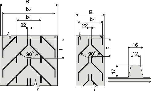
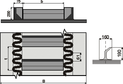
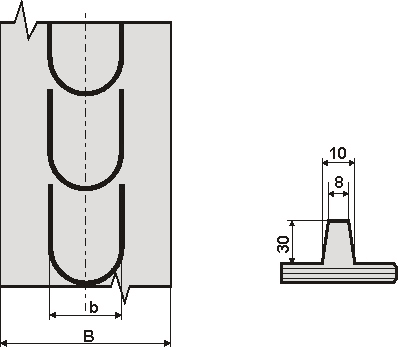
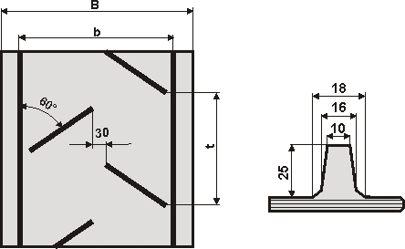
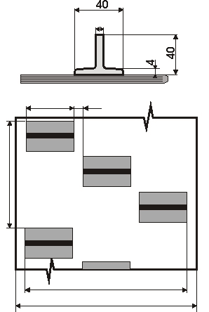
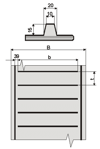
Profilové dopravníkové pásy se používají všude tam, kde je úklon dopravníku od 18o do 90o a nebo je potřeba zamezit vysypávání přepravovaného materiálu z dopravníku bočními vlnovci. Konstrukce profilových pásů je stejná jako u hladkých dopravníkových pásů na které jsou navulkanizovány nebo nalepeny profily. Profilové pásy dodáváme jako spojené ale na přání zákazníka je možné dodat pás nespojený a spojit ho na místě. Spojování se provádí stejným způsobem jako u hladkých pásů. Průměry bubnů u pásů s vlnovci jsou uvedeny zde
Námi nabízené typy
55-43
32-38
32-42
32-49
35-11
35-11a
36-13
40-09
40-10
40-30
40-32
40-32a
40-45
45-35
50-46
32-15
60-12
60-12a
60-12b
65-14
65-18
65-26
80-44
100-39
120-26f
145-26a
145-26b
160-26e
200-26d
240-26c
15-19
06-34a
06-37
06-48
10-21
10-22
10-24
10-41
12-03
13-02
15-06
15-07
15-08
15-16
15-17
06-34
15-31
16-04
16-05
16-06
17-36
18-23
20-33
25-06
25-40
30-20
30-27
30-28
30-29
Další dopravníkové pásy
© Stomil s.r.o. 2025
VOP - GDPR - Cookies
Vyrobeno s ❤️ v ČR
Web design: Kryštof Vyleťal
Web development: Jonáš Menšík